Experimento de Fizeau
El experimento de Fizeau fue un ensayo llevado a cabo por el físico francés Hippolyte Fizeau en 1850 para medir la velocidad relativa de la luz a través del agua en movimiento. Fizeau utilizó un interferómetro especial modificado para medir el efecto del movimiento de un medio sobre la velocidad de la luz.

Según las teorías que prevalecían en aquella época, la luz viajando a través de un medio en movimiento sería arrastrada por el medio, de modo que la velocidad medida de la luz sería una suma sencilla de su velocidad a través del medio más la velocidad del propio medio. Fizeau de hecho detectó un efecto de arrastre, pero la magnitud del efecto que observó estaba muy por debajo de lo esperado. Sus resultados según parecía apoyaban la hipótesis del arrastre parcial del éter de Fresnel, una situación que era desconcertante para la mayoría de los físicos. Tuvo que pasar medio siglo antes de tener una explicación satisfactoria de las mediciones inesperadas obtenidas por Fizeau, desarrollada con el advenimiento de la teoría de Albert Einstein de la relatividad especial. El mismo Einstein señaló más tarde la importancia del experimento para la gestación de la relatividad especial.
A pesar de que es conocido como «el experimento de Fizeau», Fizeau era un activo experimentador que llevó a cabo una amplia variedad de experimentos diferentes, que incluyen la medición de la velocidad de la luz en distintas situaciones.
Montaje del experimento

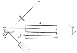
Un rayo de luz que emana de la fuente S′ es reflejado por una divisor de haz G y es colimado en un haz paralelo por la lente L. Después de pasar por las aberturas O1 y O2, dos rayos de luz viajan a través de los tubos A1 y A2, a través de los que circulan corrientes de agua atrás y adelante como indican las flechas. Los rayos se reflejan en el espejo m situado en el foco de la lente L′, de modo que un rayo siempre se propaga en la misma dirección de la corriente de agua, y el otro rayo en la dirección opuesta de la corriente. Después de pasar atrás y adelante a través de los tubos, ambos rayos se unen de nuevo en S, donde producen líneas de interferencia que pueden ser visualizadas a través del ocular representado. El patrón de interferencia puede ser analizado para determinar la velocidad de la luz que viaja a lo largo de cada brazo del tubo.[P 1][P 2][S 1]
Coeficiente de arrastre de Fresnel
Se supone una velocidad de flujo de agua en los tubos v. Según la teoría no relativista del éter lumínico, la velocidad de la luz tendría que aumentar cuando fuese "arrastrada" por el agua a lo largo del tubo, y disminuir cuando tuviera que "vencer" la resistencia del agua. La velocidad global de un rayo de luz tendría que ser una suma aditiva sencilla de su velocidad a través del agua más la velocidad del agua.
Esto es, si n es el índice de refracción del agua, de modo que c/n es la velocidad de la luz en el agua en reposo, entonces la velocidad predicha de la luz w en un brazo sería
y la velocidad pronosticada en el otro brazo sería
Por lo tanto, la luz viajando contra el flujo de agua tendría que ser más lenta que la luz viajando a favor del flujo del agua.
El patrón de interferencia entre los dos rayos cuando la luz es recombinada en el punto de observación depende del tiempo de tránsito sobre los dos recorridos, y puede usarse para calcular la velocidad de la luz como una función de la velocidad del agua.[S 2]
Fizeau encontró que
En otras palabras, la luz parecía ser arrastrada por el agua, pero la magnitud del arrastre era mucho menor que la esperada.
El experimento de Fizeau forzó a los físicos a aceptar la validez empírica de una vieja teoría (teóricamente insatisfactoria) de Augustin-Jean Fresnel (1818), que había sido invocada para explicar en 1810 un experimento de Arago, concretamente, que un medio que se mueve a través del éter estacionario arrastraría la luz propagada a través de él únicamente con una fracción de la velocidad del medio, con un coeficiente de arrastre f dada por
En 1895, Hendrik Lorentz predijo la existencia de un término extra debido a la dispersión:[S 3]: 15–20
Repeticiones

Albert A. Michelson y Edward W. Morley (1886) repitieron el experimento de Fizeau con exactitud mejorada, solventando algunos posibles defectos del experimento original: (1) Deformación de los componentes ópticos en el aparato de Fizeau que podrían causar un desplazamiento artificial del patrón de interferencia; (2) Las observaciones fueron apresuradas, porque el flujo de agua presurizada duraba un tiempo escaso; (3) Los tubos de diámetro reducido utilizados en el aparato, significaban que la sección de flujo laminar para el paso de la luz sin distorsiones solo se daba en sus porciones centrales, limitando la visibilidad de las líneas de interferencia; (4) Había incertidumbres acerca de la determinación que hizo Fizeau del caudal a través del diámetro de los tubos.[P 3] Michelson rediseño el aparato de Fizeau con tubos de mayor diámetro y un depósito de agua grande, que proporcionaba tres minutos de flujo de agua constante. Su diseño de un interferómetro de trayecto común proporcionó una compensación automática de sus longitudes, de modo que las ligeras líneas blancas de interferencia eran visibles inmediatamente apenas los elementos ópticos estaban alineados. Topológicamente, el camino de la luz era el de un interferómetro Sagnac con un número impar de reflexiones en cada trayecto de la luz.[S 4] Esto facilitó extraordinariamente la obtención de patrones de interferencia estables muy superiores a los del diseño de Fizeau (que también utilizó un número impar de reflexiones) que era, en primer lugar, completamente insensible a cualquier movimiento de sus componentes ópticos. La estabilidad era tal que fue posible insertar un disco de vidrio en h o incluso sostener un fósforo encendido en el camino de la luz sin desplazar el centro del sistema del patrón de interferencia. Utilizando este aparato, Michelson y Morley fueron capaces de confirmar completamente los resultados de Fizeau.[P 3]
Otros experimentos fueron llevados a cabo por Pieter Zeeman en 1914–1915. Utilizando una versión del aparato de Michelson a mayor escala, conectó directamente el conducto de agua principal de Ámsterdam. Zeeman fue capaz de lograr la extensión de las medidas utilizando luz monocromática, variando del violeta (4358 Å) al rojo (6870 Å) para confirmar el coeficiente modificado de Lorentz.[P 4][P 5] En 1910, Franz Harress utilizó un dispositivo rotativo y en general confirmó el coeficiente de arrastre de Fresnel. Sin embargo, además encontró un "sesgo sistemático" en los datos, que más tarde resultó ser el efecto Sagnac.[S 5]
Desde entonces, se han realizado muchos experimentos midiendo tales coeficientes de arrastre, a menudo en combinación con el efecto Sagnac.[S 6] Por ejemplo, en los experimentos que utilizan láseres de anillo junto con discos rotantes, o en experimentos con interferometría neutrónica.[P 6][P 7][P 8][P 9][P 10][P 11][P 12] También se ha observado un efecto de arrastre transversal, por ejemplo cuando el medio se está moviendo en ángulo recto respecto a la dirección de la luz incidente.[P 13][P 14]
Experimento de Hoek
Una confirmación indirecta del coeficiente de arrastre de Fresnel fue obtenida por el holandés Martin Hoek (1868).[P 15][S 7]
Su aparato era similar al de Fizeau, aunque en su versión tan solo un brazo contenía una zona llena con agua en reposo, mientras que el otro brazo estaba lleno de aire. Para un observador situado en el éter, la Tierra y por lo tanto el agua están en movimiento. Así que los tiempos de viaje de dos rayos de luz que viajan en direcciones opuestas fueron calculados por Hoek (ignorando el desplazamiento transversal, véase la imagen):
|
|
![]() Hoek esperaba que el espectro observado debería ser continuo con el aparato orientado transversalmente al viento de éter, y ser bandeado cuando el aparato se orientase paralelo al viento de éter. En el experimento real se observó que no se bandeaba, independientemente de la orientación del instrumento. |
Los tiempos de viaje no son iguales, lo que tendría que ser indicado por un cambio del patrón de interferencia. Aun así, si el coeficiente de arrastre de Fresnel es aplicado al agua en el sistema de referencia del éter, la diferencia de tiempo del viaje (de primer orden en v/c) desaparece. Utilizando diferentes montajes, Hoek obtuvo de hecho un resultado nulo, confirmando el coeficiente de arrastre de Fresnel. (Para un experimento similar refutando la posibilidad de blindar el viento de éter, ver el experimento de Hammar).
En la versión particular del experimento mostrado aquí, Hoek utilizó un prisma P para dispersar la luz en un espectro hacia un divisor de haz, pasando a través de un colimador C antes de entrar en el aparato. Con el aparato orientado en paralelo al hipotético viento de éter, Hoek esperó que la luz de un circuito se atrasaría 7/600 mm con respecto al otro. Este retardo representaba un número entero de longitudes de onda, por lo que esperaba observar una interferencia constructiva; cuando este retardo representase la mitad de un número entero de longitudes de onda, esperaba observar interferencias destructivas. En ausencia del arrastre, su expectativa era que el espectro observado sería continuo con el aparato orientado transversalmente al viento de éter, y bandeado con el aparato orientado paralelo al viento de éter. Sus resultados experimentales reales fueron completamente negativos.[P 15][S 7]
Controversia
A pesar de que la hipótesis de Fresnel era empíricamente válida para explicar los resultados de Fizeau, muchos expertos principales en este campo, incluyendo al propio Fizeau (1851), Éleuthère Mascart (1872), Ketteler (1873), Veltmann (1873), y Lorentz (1886) estaban de acuerdo al considerar que la hipótesis de Fresnel del arrastre parcial del éter estaba apoyada en unas bases poco firmes. Por ejemplo, Veltmann (1870) demostró que la fórmula de Fresnel implicaba que el éter tendría que ser arrastrado en cantidades diferentes para colores distintos de la luz, dado que el índice de refracción depende de la longitud de onda; Mascart (1872) demostró un resultado similar para la luz polarizada viajando a través de un medio birrefringente. En otras palabras, el éter tenía que ser capaz de sostener movimientos diferentes al mismo tiempo.[S 8]
La insatisfacción de Fizeau con el resultado de su propio experimento es fácilmente vislumbrable en la conclusión de su informe:
El éxito del experimento me parece que hace la adopción de la hipótesis de Fresnel necesaria, o al menos la ley que encontró para la expresión de la alteración de la velocidad de la luz por el efecto del movimiento de un cuerpo; pero a pesar de que esta ley se haya mostrado cierta pueda ser una prueba muy fuerte a favor de la hipótesis de la que es solo una consecuencia, quizás la concepción de Fresnel puede parecer tan extraordinaria, y en algunos aspectos tan difícil, para admitir, que otras pruebas y un examen profundo en la parte de la geometría todavía serán necesarios antes de adoptarla como una expresión de los hechos reales del caso.[P 1]
A pesar de la insatisfacción de muchos físicos con la hipótesis de Fresnel del arrastre parcial del éter, repeticiones y mejoras de su experimento (ver secciones anteriores) de otros científicos confirmaron sus resultados con gran exactitud.
Además de los problemas de la hipótesis del arrastre parcial del éter, otro problema de primer orden surgió con el experimento de Michelson–Morley (1887). En la teoría de Fresnel, el éter es casi estacionario, así que el experimento tendría que haber dado un resultado positivo. Aun así, el resultado de este experimento era negativo. Así, desde el punto de vista de los modelos del éter en aquel tiempo, la situación experimental era contradictoria: de un lado, la aberración de la luz, el experimento de Fizeau y su repetición por Michelson y Morley en 1886 parecía apoyar el arrastre parcial del éter. Por otro lado, el experimento de Michelson–Morley de 1887, concebido para probar que el éter está en reposo con respecto a la Tierra, aparentemente apoyaba la idea del arrastre completo del éter (ver las hipótesis del arrastre del éter).[S 9] Así que el notable éxito de la hipótesis de Fresnel en explicar los resultados de Fizeau contribuía a provocar una crisis teórica, que no fue resuelta hasta el desarrollo de la teoría de la relatividad especial.[S 8]
La interpretación de Lorentz
En 1892, Hendrik Lorentz propuso una modificación del modelo de Fresnel, en el que el éter era completamente estacionario. Tuvo éxito en deducir el coeficiente de arrastre de Fresnel como el resultado de una interacción entre el agua en movimiento con el éter estacionario.[S 9][S 10]: 25–30 También descubrió que la transición de un marco de referencia a otro podría ser simplificada utilizando un tiempo auxiliar variable al que llamó tiempo local:
En 1895, Lorentz generalizó la explicación del coeficiente de Fresnel basada en el concepto de tiempo local. Aun así, la teoría de Lorentz tuvo el mismo problema de fondo que la de Fresnel: un éter estacionario contradecía el experimento de Michelson y Morley. En 1892 Lorentz propuso la contracción de los cuerpos en movimiento en la dirección de propio movimiento (hipótesis de contracción de Fitzgerald-Lorentz, desde que George Fitzgerald ya había llegado en 1889 a esta conclusión). Las ecuaciones que utilizó para describir estos efectos iban más allá que las que había desarrollado hasta 1904. Ahora son llamadas transformaciones de Lorentz en su honor, y son idénticas en forma a las ecuaciones que Einstein utilizó más tarde para deducir sus principios. Al contrario que las ecuaciones de Einstein, las transformaciones de Lorentz eran estrictamente un aparato matemático ad hoc, y su única justificación es que parecían trabajar correctamente.[S 9][S 10]: 27–30
Deducción en la relatividad especial
Einstein mostró cómo las ecuaciones de Lorentz podrían ser deducidas como el resultado lógico de un conjunto de dos sencillos postulados iniciales. Además Einstein reconoció que el concepto del éter estacionario no tiene ningún papel en la relatividad especial, y que la transformación de Lorentz concierne a la naturaleza del espacio y del tiempo. Junto con el problema del imán en movimiento y el conductor, los experimentos negativos acerca de la deriva del éter, y la aberración de la luz, el experimento de Fizeau era uno de los resultados experimentales clave que modelaron el pensamiento de Einstein acerca de la relatividad.[S 11][S 12] Robert S. Shankland informó de algunas conversaciones con Einstein, en las que Einstein enfatizó la importancia del experimento de Fizeau.[S 13]
Max von Laue (1907) demostró que el coeficiente de arrastre de Fresnel puede ser fácilmente explicado como consecuencia natural de la fórmula relativista para adición de velocidades, concretamente:[S 14]
- La velocidad de la luz en el agua en reposo es c/n.
- De la ley de composición de velocidades se sigue que la velocidad de la luz observada en el laboratorio, donde el agua está fluyendo con velocidad v (en la misma dirección que la luz) es
- Por ello la diferencia en velocidad es (suponiendo que v es pequeña comparanda con c, y despreciando los términos de orden más alto)
- Esto es muy aproximado cuando v/c ≪ 1, y está de acuerdo con la fórmula basada en los mediciones de Fizeau, que cumplían con la condición de que v/c v/c ≪ 1.
El experimento de Fizeau es una evidencia que apoya el caso colineal de la fórmula de adición de velocidades de Einstein.[P 16]
Véase también
Referencias
Fuentes secundarias
- Mascart, Éleuthère Élie Nicolas (1889). Traité d'optique. Paris: Gauthier-Villars. p. 101. Consultado el 9 de agosto de 2015.
- Robert Williams Wood (1905). Physical Optics. The Macmillan Company. p. 514.
- Pauli, Wolfgang (1981) [1921]. Theory of Relativity. New York: Dover. ISBN 0-486-64152-X.
- Hariharan, P. (2007). Basics of Interferometry, 2nd edition. Elsevier. p. 19. ISBN 0-12-373589-0.
- Anderson, R., Bilger, H.R., Stedman, G.E. (1994). «Sagnac effect: A century of Earth-rotated interferometers». Am. J. Phys. 62 (11): 975-985. Bibcode:1994AmJPh..62..975A. doi:10.1119/1.17656.
- Stedman, G. E. (1997). «Ring-laser tests of fundamental physics and geophysics». Reports on Progress in Physics 60 (6): 615-688. Bibcode:1997RPPh...60..615S. doi:10.1088/0034-4885/60/6/001.
- Rafael Ferraro (2007). «Hoek's experiment». Einstein's Space-Time: An Introduction to Special and General Relativity. Springer. pp. 33-35. ISBN 0-387-69946-5.
- Stachel, J. (2005). «Fresnel's (dragging) coefficient as a challenge to 19th century optics of moving bodies». En Kox, A.J.; Eisenstaedt, J, ed. The universe of general relativity. Boston: Birkhäuser. pp. 1-13. ISBN 0-8176-4380-X. Consultado el 17 de abril de 2012.
- Janssen, Michel & Stachel, John (2010), «The Optics and Electrodynamics of Moving Bodies», en John Stachel, ed., Going Critical, Springer, ISBN 1-4020-1308-6.
- Miller, A.I. (1981). Albert Einstein's special theory of relativity. Emergence (1905) and early interpretation (1905–1911). Reading: Addison–Wesley. ISBN 0-201-04679-2.
- Lahaye, Thierry; Labastie, Pierre; Mathevet, Renaud (2012). «Fizeau's "aether-drag" experiment in the undergraduate laboratory». American Journal of Physics 80 (6): 497. Bibcode:2012AmJPh..80..497L. arXiv:1201.0501. doi:10.1119/1.3690117.
- Norton, John D., John D. (2004), «Einstein's Investigations of Galilean Covariant Electrodynamics prior to 1905», Archive for History of Exact Sciences 59: 45-105, Bibcode:2004AHES...59...45N, doi:10.1007/s00407-004-0085-6.
- Shankland, R. S. (1963). «Conversations with Albert Einstein». American Journal of Physics 31 (1): 47-57. Bibcode:1963AmJPh..31...47S. doi:10.1119/1.1969236.
- N David Mermin (2005). It's about time: understanding Einstein's relativity. Princeton University Press. pp. 39 ff. ISBN 0-691-12201-6.
- Fuentes primarias
- Fizeau, H. (1851). «Sur les hypothèses relatives à l'éther lumineux». Comptes Rendus 33: 349-355.
- Fizeau, H. (1859). «Sur les hypothèses relatives à l'éther lumineux». Ann. De Chim. Et de Phys. 57: 385-404.
- Michelson, A. A. and Morley, E.W. (1886). «Influence of Motion of the Medium on the Velocity of Light». Am. J. Science 31: 377-386.
- Zeeman, Pieter (1914). «Fresnel's coefficient for light of different colours. (First part)». Proc. Kon. Acad. Van Weten. 17: 445-451. Bibcode:1914KNAB...17..445Z.
- Zeeman, Pieter (1915). «Fresnel's coefficient for light of different colours. (Second part)». Proc. Kon. Acad. Van Weten. 18: 398-408. Bibcode:1915KNAB...18..398Z.
- Macek, W. M. (1964). «Measurement of Fresnel Drag with the Ring Laser». Journal of Applied Physics 35 (8): 2556-2557. Bibcode:1964JAP....35.2556M. doi:10.1063/1.1702908.
- Bilger, H. R.; Zavodny, A. T. (1972). «Fresnel Drag in a Ring Laser: Measurement of the Dispersive Term». Physical Review A 5 (2): 591-599. Bibcode:1972PhRvA...5..591B. doi:10.1103/PhysRevA.5.591.
- Bilger, H. R.; Stowell, W. K. (1977). «Light drag in a ring laser – An improved determination of the drag coefficient». Physical Review A 16: 313-319. Bibcode:1977PhRvA..16..313B. doi:10.1103/PhysRevA.16.313.
- Sanders, G. A.; Ezekiel, Shaoul (1988). «Measurement of Fresnel drag in moving media using a ring-resonator technique». Journal of the Optical Society of America B 5 (3): 674-678. Bibcode:1988JOSAB...5..674S. doi:10.1364/JOSAB.5.000674.
- Klein, A. G.; Opat, G. I.; Cimmino, A.; Zeilinger, A.; Treimer, W.; Gähler, R. (1981). «Neutron Propagation in Moving Matter: The Fizeau Experiment with Massive Particles». Physical Review Letters 46 (24): 1551-1554. Bibcode:1981PhRvL..46.1551K. doi:10.1103/PhysRevLett.46.1551.
- Bonse, U.; Rumpf, A. (1986). «Interferometric measurement of neutron Fizeau effect». Physical Review Letters 56 (23): 2441-2444. Bibcode:1986PhRvL..56.2441B. PMID 10032993. doi:10.1103/PhysRevLett.56.2441.
- Arif, M.; Kaiser, H.; Clothier, R.; Werner, S. A.; Hamilton, W. A.; Cimmino, A.; Klein, A. G. (1989). «Observation of a motion-induced phase shift of neutron de Broglie waves passing through matter near a nuclear resonance». Physical Review A 39 (3): 931-937. Bibcode:1989PhRvA..39..931A. PMID 9901325. doi:10.1103/PhysRevA.39.931.
- Jones, R. V. (1972). «'Fresnel Aether Drag' in a Transversely Moving Medium». Proceedings of the Royal Society A 328 (1574): 337-352. Bibcode:1972RSPSA.328..337J. doi:10.1098/rspa.1972.0081.
- Jones, R. V. (1975). «"Aether Drag" in a Transversely Moving Medium». Proceedings of the Royal Society A 345 (1642): 351-364. Bibcode:1975RSPSA.345..351J. doi:10.1098/rspa.1975.0141.
- Hoek, M. (1868). «Determination de la vitesse avec laquelle est entrainée une onde lumineuse traversant un milieu en mouvement». Verslagen en mededeelingen 2: 189-194.
- Laue, Max von (1907), «Die Mitführung des Lichtes durch bewegte Körper nach dem Relativitätsprinzip» [The Entrainment of Light by Moving Bodies in Accordance with the Principle of Relativity], Annalen der Physik 328 (10): 989-990, Bibcode:1907AnP...328..989L, doi:10.1002/andp.19073281015.
