Rectificador trifásico
Un rectificador trifásico o convertidor trifásico es un dispositivo electrónico capaz de convertir una corriente alterna de entrada en una corriente continua de salida, mediante dispositivos semiconductores capaces de manejar grandes potencias como diodos, tiristores, válvulas de mercurio (usados hace más de 100 años), entre otros. El rectificador trifásico cumple con la misma función que un rectificador monofásico, con la diferencia que estos rectificadores son alimentados por fuentes trifásicas, por lo que son más eficientes y pueden manejar grandes potencias, ya que en su salida presentan menor rizado de la señal. Son utilizados principalmente en la industria para producir voltajes y corrientes continuas que generalmente impulsan cargas de gran potencia, como motores DC. A pesar de que estos rectificadores presentan menos rizo que un rectificador convencional, en muchas aplicaciones el factor de potencia y la distorsión armónica total de la línea se ven afectados, es por ello que se requiere el uso de filtros de armónicos. Una de las aplicaciones en donde se presenta este fenómeno, es en los enlaces de transmisión de alto voltaje (HVDC), en donde las estaciones de conversión cuentan con filtros de armónicos que reducen la distorsión en la señal que producen los convertidores, para que sea transmitida con calidad y no se introduzcan perturbaciones a la red eléctrica.

Tipos de rectificadores trifásicos
Rectificador trifásico no controlado
Este tipo de rectificadores emplea como semiconductor el diodo. Se denominan de este modo porque no se puede controlar la potencia de salida, es decir, para una tensión fija de entrada la tensión de salida es también fija. En un circuito rectificador trifásico no controlado de 6 pulsos, los diodos se enumeran en el orden de las secuencias de conducción y cada uno conduce 120°. La secuencia de conducción para los diodos son D1-D2, D2-D3, D3-D4, D4-D5, D5-D6 y D6-D1.


En un sistema trifasico equilibrado los voltajes de línea a neutro están definidos por:
Los voltajes correspondientes de línea a línea (VLL) son:
El voltaje promedio de salida se puede determinar mediante:
Donde Vm es el tensión pico de fase o tensión máxima, la tensión promedio DC también la podemos expresar en función de la tensión línea a línea, mediante la siguiente expresión:
El valor rms de la tensión de salida está dado por:
Rectificador trifásico controlado
Este tipo de rectificador permite variar la tensión promedio de salida, empleando para su funcionamiento tiristores de potencia con los cuales se puede variar el ángulo de disparo y por ende la potencia entregada a la carga. Los tiristores se disparan a un intervalo de π/3. La frecuencia del rizo de tensión en la salida es seis veces la frecuencia de la fuente de entrada (6fs), y el filtrado resulta menos complejo en comparación con el de los convertidores de media onda ya que este presenta menos rizo en la tensión de salida.
Cuando wt=(π/6+α), el tiristor T6 ya está conduciendo, y el tiristor TI se activa. Durante el intervalo (π/6+α) ≤ wt ≤ (π/2+α), los tiristores TI y T6 conducen y aparece la tensión de línea a línea Vab = Van - Vbn a través de la carga. Cuando wt =(π/2+α), se dispara el tiristor T2 y de inmediato el tiristor T6 se polariza en sentido inverso. T6 se desactiva por conmutación natural. Durante el intervalo (π/2+α)≤ wt ≤(5π/6+α) conducen los tiristores TI y T2 Y aparece la tensión de línea a línea Vac a través de la carga. Si se numeran los tiristores como se indica en la figura del circuito rectificador trifásico controlado, la secuencia de disparo es 1-2,2-3,3-4,4-5,5-6 y 6-1.


La tensión promedio de salida se puede determinar mediante:
Donde α es el ángulo de disparo
El valor rms de la tensión de salida está dado por:
Secuencia de disparo
La secuencia de disparo es la siguiente:
- Generar un pulso de señal en el cruce de la tensión de fase Van con cero. Retardar el pulso en el ángulo deseado (α + π/6) y aplicarlo a las terminales de compuerta y cátodo de T1 a través de un circuito excitador de compuerta.
- Generar cinco pulsos más, cada uno retardado π/3 respecto al anterior, para disparar T2, T3,..., T6, respectivamente, mediante circuitos excitadores de compuerta
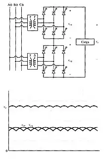
Rectificador trifásico de doce pulsos

Un puente trifásico produce una tensión de salida de seis pulsos. Para aplicaciones con grandes potencias, como por ejemplo transmisión de CC de alta tensión (HVDC), y para impulsores de CC para motores, se requiere en general una salida de doce pulsos para reducir los rizos en la salida, y para aumentar las frecuencias de los mismos. Se pueden combinar dos puentes de seis pulsos, sea en serie o en paralelo, para producir una salida con 12 pulsos efectivos. Para el circuito del convertidor se puede obtener un desplazamiento de fase de 30° entre los devanados secundarios, conectando un secundario en estrella (Y) y el otro en delta (Δ). Con este rectificador se puede llevar a cabo una reducción mayor de armónicos de salida, que en un rectificador de 6 pulsos. Mediante una conexión en serie la tensión total de salida es la suma de las salidas de los dos puentes de seis pulsos. Los ángulos de disparo de los puentes suelen ser iguales.
Armónicos
La siguiente serie de Fourier representa las corrientes de las líneas de alterna que alimenta el transformador Y –Y
La siguiente serie de Fourier representa las corrientes de las líneas de alterna que alimenta al transformador Y – Δ
Las series de Fourier de las dos corrientes son similares, aunque algunos términos son de signos opuestos. La siguiente es la serie de Fourier de la corriente del sistema de alterna, que es la suma de dichas corrientes del transformador.
Por lo tanto algunos de los armónicos de la parte alterna se anulan utilizando el esquema de doce pulsos en lugar del esquema de seis pulsos. Los armónicos que permanecerán en el sistema de alterna son de orden 12k ± 1. al utilizar esta configuración de transformador y convertidor se ha producido la anulación de los armónicos de orden 6(2n– 1) ± 1.
Ventajas
Entre las ventajas que presenta el rectificador de doce pulsos con respecto al convertidor de seis pulsos tenemos:
- Tiene un total de 12 transiciones para cada periodo del generador de alterna, dado que se produce una transición entre los tiristores en conducción cada 30°.
- La salida presenta frecuencias armónicas que son múltiplos de doce veces la frecuencia del generador (12k, k = 1, 2, 3…).
- El filtrado necesario para generar una salida de corriente continua, relativamente pura, es menos costoso que el necesario para el rectificador de seis pulsos.
Eficiencia
La eficiencia de un rectificador está definido como la potencia de salida (DC) entre la potencia de entrada (ac):
Parámetros de calidad
Mediante el análisis de Fourier, la corriente de línea puede ser expresada en términos de la corriente fundamental más otros componentes armónicos, tal y como se mostró para los armónicos del rectificador de doce pulsos. Asumiendo que el voltaje de entrada es una señal senoidal pura, entonces solo la componente fundamental de la corriente contribuye al flujo de potencia real. En este caso la potencia estará definida por:
Donde:
- es la tensión de entrada
- es corriente fundamental
- es el ángulo entre e
Factor de potencia
Si la potencia aparente es S=Vs*Is entonces el factor de potencia PF (power factor) estará dado por:
Factor de desplazamiento
Al factor de desplazamiento DF se le llama con frecuencia factor de potencia de desplazamiento (DPF, de displacement power factor), y está dado por el coseno del ángulo entre la tensión de entrada y la corriente fundamental, por lo tanto:
Componente de distorsión
El valor rms de la corriente de entrada (Is) puede calcularse por medio de la raíz media cuadrática de la forma de onda is(t), con la siguiente fórmula:
El valor rms de la componente de distorsión está dado por:
Distorsión armónica total
HF es una medida de la distorsión de una forma de onda, y también se llama distorsión armónica total (THD, de total harmonic distortion).
Factor de cresta
El factor de cresta (CF, de crest factor), que es una medida de la corriente pico de entrada Is(pico) en comparación con Is, su valor rms, interesa con frecuencia para especificar las capacidades de corriente pico de los dispositivos y los componentes. El CF de la corriente de entrada se define por:
Factor de forma
Es la relación entre la corriente rms de entrada y la corriente DC de salida.